|
|
|
 |
|
首页 - 产品展厅 - 产品介绍 |
|
 |
 |
|
Z83Y卡箍平板闸阀的详细资料:
|
卡箍平板闸阀具有密封性能可靠、启闭力矩小、具有抗硫耐磨、使用寿命长、可通毛球清扫管线等特点;适用水、石油、天然气、蒸汽等非腐蚀性和腐蚀性介质的管路系统中作启闭装置,特别适用于石化、油、气、长输管线等领域。 |
|
PN35(350)
PN25(250) |
Z23x-325/500 A/B型 |
PN35(350)
PN25(250) | |
工作温度:≤110℃
阀体材料:优质碳钢、合金钢
适用介质:泥浆、水
|
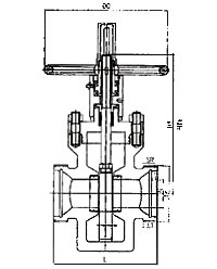
外形及连接尺寸Main external and connecting dimensio
|
公称通径
DN(mm) |
尺寸(mm) |
重量
(Kg) |
|
DN |
L |
L1 |
Tr |
SR |
H |
H1 |
DO |
|
50 |
47 |
212 |
30 |
120×6 |
40 |
364 |
312 |
440 |
60 |
|
65 |
57 |
235 |
30 |
130×6 |
40 |
402 |
330 |
480 |
75 |
|
80 |
70 |
267 |
35 |
150×6 |
60 |
495 |
41 1 |
500 |
90 |
|
100 |
92 |
330 |
45 |
180×8 |
74 |
543 |
443 |
500 |
110 |
| |
|
|
|
|